Did you ever think that how amazing it would be if someone’s phone Wi-Fi hotspot could transfer the battery power like it transfers data to your device. So here’s the future of charging technology on your device, wireless charging a steps further. A new Sony patent has turned up at the US Trademark and Patent Office is looking for the possibility that you can charge your phone using your friend’s phone wirelessly without having to connect a single cable.
A new patent filed by Sony last week is exploring the possibility of managing hotspots that can wirelessly share power between mobile devices. The patent explains a method for wirelessly transferring power and data between two consumer electronics – smartphones, refrigerator, TV, computer, washing machine, microwave oven, etc.
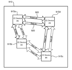
What’s in Patent? How it would work?

According to the Patent filed by Sony, the devices capable of this technology are going to house an antenna system with at least two antenna – one for wireless electricity transfer and one for data transfer. This will work in the same manner as it is for searching a Wi-Fi hotspot. In case multiple devices capable of transferring electricity wirelessly, you will have to choose which among those you want to receive power wirelessly and which among those you want to get data from. Off course!! a device from supplying electricity wirelessly must have considerable battery left to send electricity wirelessly.
This patent outlines an exciting future in the mobile technology to wirelessly connect to both data and power. At this stage, this is only something on the drawing board, but all the mobile device owners out there will love to see this technology become a reality.









